Fuel petcock
- whistlers mother
-
Topic Author
- Offline
- Junior Member
-
- Posts: 21
- Thanks: 3
Fuel petcock
7 years 9 months ago
Hi gents.Ive replaced my old leaking original fuel petcock with a Suzuki GS1000 model as recommended as it has the same 42-43mm spacings.
This has 2 pipes ,1 obviously for fuel pipe to carbs and I am guessing the other is a vacuum pipe.Am I correct in that I need to fit a length of plastic tube from this to the inlet manifold? I know the Pingel fuel tap is highly recommended but I would like to try this one now I have bought it.Thanks Mark UK
This has 2 pipes ,1 obviously for fuel pipe to carbs and I am guessing the other is a vacuum pipe.Am I correct in that I need to fit a length of plastic tube from this to the inlet manifold? I know the Pingel fuel tap is highly recommended but I would like to try this one now I have bought it.Thanks Mark UK
Please Log in or Create an account to join the conversation.
- Kawboy
-
- Offline
- Sustaining Member
-
- Posts: 3227
- Thanks: 1191
Re: Fuel petcock
7 years 9 months ago - 7 years 9 months ago
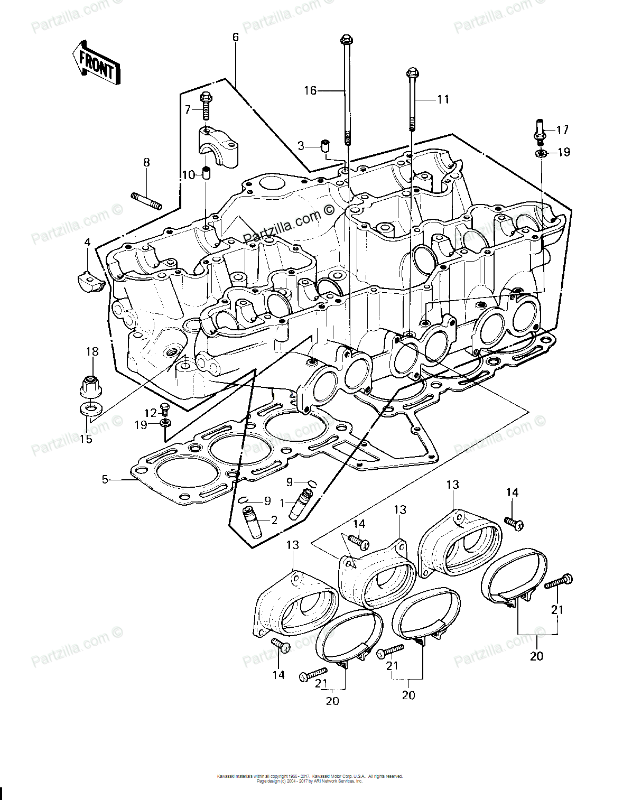
Yes if you have a vacuum actuated fuel valve, you need to hook up a piece of vacuum hose not plastic tube from the back side of the diaphram on the fuel valve to the vacuum port on the intake manifold item #17 in the pic. There could be 6 of these on your head or only one depending on what previous owners have done. I've often seen 6mm flanged bolts in place of the vacuum fittings. Pick one of the fittings reasonably close to the diaphram valve to minimize the length of hose. Maybe the port on cylinder #3 or #4.
I also moved this post to "Carbs and Fuel Injection " from "New Members" .
Just a subtle reminder to "pick" the topic destination before posting the first post on a topic please.
Thanks
KB
I also moved this post to "Carbs and Fuel Injection " from "New Members" .
Just a subtle reminder to "pick" the topic destination before posting the first post on a topic please.
Thanks
KB
Last edit: 7 years 9 months ago by Kawboy.
The following user(s) said Thank You: whistlers mother
Please Log in or Create an account to join the conversation.
Moderators: scotch
Time to create page: 0.166 seconds
