THE MOMENT OF TRUE.
- Kawboy
-
- Offline
- Sustaining Member
-
- Posts: 3267
- Thanks: 1176
Re: THE MOMENT OF TRUE.
1 year 11 months ago - 1 year 11 months ago
Wow !! Either something got in there and hammered the valve up or the valve rusted and the heat of combustion cleaned the rust off. Either way, it is a good thing you went ahead and overhauled the engine. Smart !!
I see a hairline crack at 10 O'clock I think and that could have broken away and made a real mess.
I see a hairline crack at 10 O'clock I think and that could have broken away and made a real mess.
Last edit: 1 year 11 months ago by Kawboy.
Please Log in or Create an account to join the conversation.
- kawaBCN
-
Topic Author
- Offline
- Platinum Member
-
- Posts: 391
- Thanks: 151
Re: THE MOMENT OF TRUE.
1 year 11 months agoThis motorcycle sat for many years with the spark plugs removed under a shed next to the sea.Wow !! Either something got in there and hammered the valve up or the valve rusted and the heat of combustion cleaned the rust off. Either way, it is a good thing you went ahead and overhauled the engine. Smart !!
I see a hairline crack at 10 O'clock I think and that could have broken away and made a real mess.
There you have the explanation for the rust on the valves.
One piston was so stuck that the engine block had to be replaced.
RUN LIKE THE WIND¡¡¡
The following user(s) said Thank You: Kawboy
Please Log in or Create an account to join the conversation.
- kawaBCN
-
Topic Author
- Offline
- Platinum Member
-
- Posts: 391
- Thanks: 151
Re: THE MOMENT OF TRUE.
1 year 11 months ago
Today in Spain is a holiday.
We celebrate the arrival of the wise men from the East who, following the star of Bethlehem, brought gifts to the child Jesus, so everyone gives gifts to others, it is a tradition that was established long before the Coca-Cola brand will create the figure of Santa Claus.
I went down to the garage with the intention of moving forward with the assembly of the engine but I limited myself to removing shit and I spent more than three hours removing remains of silicone and dirt from the crankcase.
Firm step and patience, that is my motto..
We celebrate the arrival of the wise men from the East who, following the star of Bethlehem, brought gifts to the child Jesus, so everyone gives gifts to others, it is a tradition that was established long before the Coca-Cola brand will create the figure of Santa Claus.
I went down to the garage with the intention of moving forward with the assembly of the engine but I limited myself to removing shit and I spent more than three hours removing remains of silicone and dirt from the crankcase.
Firm step and patience, that is my motto..
RUN LIKE THE WIND¡¡¡
Please Log in or Create an account to join the conversation.
- kawaBCN
-
Topic Author
- Offline
- Platinum Member
-
- Posts: 391
- Thanks: 151
Re: THE MOMENT OF TRUE.
1 year 11 months ago
Good morning.
I bought a complete set of engine gaskets and I have a question.
I can't find the gasket that joins the two pieces of the engine mount.
When I took it apart there were traces of silicone.
Can anyone tell me if it is not appropriate to use a sealing gasket here?
Thank you.
I bought a complete set of engine gaskets and I have a question.
I can't find the gasket that joins the two pieces of the engine mount.
When I took it apart there were traces of silicone.
Can anyone tell me if it is not appropriate to use a sealing gasket here?
Thank you.
RUN LIKE THE WIND¡¡¡
Please Log in or Create an account to join the conversation.
- Kawboy
-
- Offline
- Sustaining Member
-
- Posts: 3267
- Thanks: 1176
Re: THE MOMENT OF TRUE.
1 year 11 months ago - 1 year 11 months ago
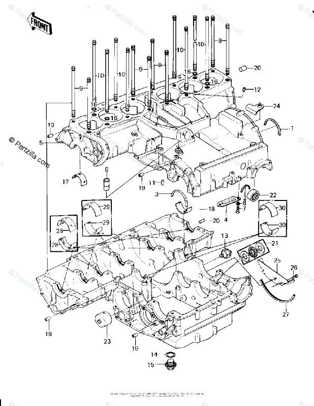
Are you looking for a gasket on the crankcase engine halves? There is not any.
This is where I go to the parts manual to confirm things like this.
The main reason there is no gasket is because the engine journals for all the bearings are in the crankcase halves. It would be impossible to maintain proper sizing if gaskets were in the crankcase halves. Change a gasket and it would change the journal sizes.
This is where I go to the parts manual to confirm things like this.
The main reason there is no gasket is because the engine journals for all the bearings are in the crankcase halves. It would be impossible to maintain proper sizing if gaskets were in the crankcase halves. Change a gasket and it would change the journal sizes.
Last edit: 1 year 11 months ago by Kawboy.
The following user(s) said Thank You: kawaBCN
Please Log in or Create an account to join the conversation.
- kawaBCN
-
Topic Author
- Offline
- Platinum Member
-
- Posts: 391
- Thanks: 151
Re: THE MOMENT OF TRUE.
1 year 11 months ago
I found the page in the service manual that shows how to proceed to assemble the engine.
I have substitute silicone gaskets on hand. that's what I've used for the metal joints.
I have substitute silicone gaskets on hand. that's what I've used for the metal joints.
RUN LIKE THE WIND¡¡¡
Please Log in or Create an account to join the conversation.
Moderators: dcarver220b
Time to create page: 0.220 seconds
