1979 rear master cylinder
- met1212
-
Topic Author
- Offline
- Senior Member
-
- Posts: 74
- Thanks: 7
1979 rear master cylinder
7 years 5 months ago - 7 years 5 months ago
hi again,
i have a recentand outstanding thread on my 79 - 1300 regarding running issues.
this is another problem on the same bike.
i have recently rebuilt the rear master cylinder on the bike, by re honing the bore
and purchasing a new kit for it....it bleeds and holds well...all good there.
the issue is the rear brake light switch shown in photos and the making of it work.
all the technical diagrams i have found, including the manual i have are not clear on what part is missing from my set up shown on photo.
the mechanics of the brake pedal force the master cylinder to work, but also in some way, must engage the switch to activate the light...
the switch is an aftermarket one i bought that replaces the original one.
is there something missing from my set up, or does anyone have a photo of theirs i can perhaps copy and make the part missing, to incorporate into myn....?
i don't suppose, the part i m looking for that is missing,
would be still sold by kawasaki....still, it might...?
first, i ve to identify it. i ve to
i have a recentand outstanding thread on my 79 - 1300 regarding running issues.
this is another problem on the same bike.
i have recently rebuilt the rear master cylinder on the bike, by re honing the bore
and purchasing a new kit for it....it bleeds and holds well...all good there.
the issue is the rear brake light switch shown in photos and the making of it work.
all the technical diagrams i have found, including the manual i have are not clear on what part is missing from my set up shown on photo.
the mechanics of the brake pedal force the master cylinder to work, but also in some way, must engage the switch to activate the light...
the switch is an aftermarket one i bought that replaces the original one.
is there something missing from my set up, or does anyone have a photo of theirs i can perhaps copy and make the part missing, to incorporate into myn....?
i don't suppose, the part i m looking for that is missing,
would be still sold by kawasaki....still, it might...?
first, i ve to identify it. i ve to
Last edit: 7 years 5 months ago by met1212.
Please Log in or Create an account to join the conversation.
- mizztheman
-
- Offline
- Elite Member
-
- Posts: 172
- Thanks: 74
The following user(s) said Thank You: met1212, Kawboy
Please Log in or Create an account to join the conversation.
- Kawboy
-
- Offline
- Sustaining Member
-
- Posts: 3170
- Thanks: 1158
Re: 1979 rear master cylinder
7 years 5 months ago - 7 years 5 months ago
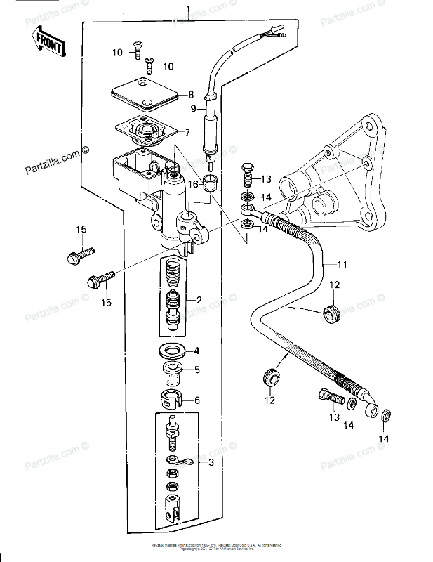
This is where I like to go to the parts manuals for reference. When you buy a fixer upper, they usually come with "parts missing"
In your case, I'm prettty sure you're missing the item directly across from the indicator #3. It's just a tab on the actuator rod that actuates the switch.
In your case, I'm prettty sure you're missing the item directly across from the indicator #3. It's just a tab on the actuator rod that actuates the switch.
Last edit: 7 years 5 months ago by Kawboy.
The following user(s) said Thank You: met1212
Please Log in or Create an account to join the conversation.
- met1212
-
Topic Author
- Offline
- Senior Member
-
- Posts: 74
- Thanks: 7
Re: 1979 rear master cylinder
7 years 5 months ago
yeah thanks again kawboy.....i have that diagram, but it doesnt show the one item, which happens to be the part i'm missing....and i am sure i cant buy it anymore from kawasaki, so i will try and make it....but i want to be able to see it 1st, as i haven't a clue what it looks like....
Please Log in or Create an account to join the conversation.
- met1212
-
Topic Author
- Offline
- Senior Member
-
- Posts: 74
- Thanks: 7
Re: 1979 rear master cylinder
7 years 5 months ago - 7 years 5 months ago
just looking at it the second time, i have all that on myn shown in the photo upside down and still connected....
what im missing is the part that makes contact with the brake switch shown in diagram as number (9)
thanks anyhow mizztheman...
what im missing is the part that makes contact with the brake switch shown in diagram as number (9)
thanks anyhow mizztheman...
Last edit: 7 years 5 months ago by met1212.
Please Log in or Create an account to join the conversation.
- Kawboy
-
- Offline
- Sustaining Member
-
- Posts: 3170
- Thanks: 1158
Re: 1979 rear master cylinder
7 years 5 months ago - 7 years 5 months ago
Your're not missing any parts and you don't have any extra parts. This is a prime example of why I go to the parts diagram when I'm confused. The parts diagram shows all of the required pieces and the exploded view shows the order of assembly.
2 things I see.
First, your actuating tab has been all bent to rat shit by somebody and doesn't look anything like the item in the part drawing.
Second, The actuating rod is not assembled as per the part drawing. Note the actuating tab is located not between the 2 nuts as shown in your pic, It needs to be above the second nut and clamped in place against the fixed nut on the rod and the nut that you presently have on the top side of the actuating tab in your pic. That tab should act directly on the pin on the end of the brake switch. That tab should ride in the slot provided in the housing of the master cylinder directly below the bore that the brake switch sits in. The slot keeps the tab lined up with the pin on the brake switch.
I took the first pic Mizztheman provided and did a little photo editing to give a better view. Thanks Mizz for the pic to work with.
2 things I see.
First, your actuating tab has been all bent to rat shit by somebody and doesn't look anything like the item in the part drawing.
Second, The actuating rod is not assembled as per the part drawing. Note the actuating tab is located not between the 2 nuts as shown in your pic, It needs to be above the second nut and clamped in place against the fixed nut on the rod and the nut that you presently have on the top side of the actuating tab in your pic. That tab should act directly on the pin on the end of the brake switch. That tab should ride in the slot provided in the housing of the master cylinder directly below the bore that the brake switch sits in. The slot keeps the tab lined up with the pin on the brake switch.
I took the first pic Mizztheman provided and did a little photo editing to give a better view. Thanks Mizz for the pic to work with.
Last edit: 7 years 5 months ago by Kawboy.
Please Log in or Create an account to join the conversation.
Time to create page: 0.175 seconds
